M30LW128D110N6 Datasheet

  • M30LW128D110N6

  • IC FLASH 128MBIT 110NS 56TSOP

  • 861.50KB

  • 58页

  • STMicroelectronics   STMicroelectronics

扫码查看芯片数据手册

上传产品规格书

PDF预览

M30LW128D
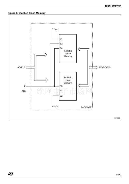
128 Mbit (two 64Mbit, x8/x16, Uniform Block, Flash Memories)
3V Supply, Multiple Memory Product
PRELIMINARY DATA
FEATURES SUMMARY
s
TWO M58LW064D 64Mbit FLASH MEMORIES
STACKED IN A SINGLE PACKAGE
s
Figure 1. Packages
WIDE x8 or x16 DATA BUS for HIGH
BANDWIDTH
SUPPLY VOLTAGE
鈥?V
DD
= 2.7 to 3.6V for Program, Erase and
Read operations
鈥?V
DDQ
= 1.8 to V
DD
for I/O buffers
s
s
ACCESS TIME
鈥?Random Read 110ns
鈥?Page Mode Read 110/25ns
TSOP56 (N)
14 x 20 mm
s
PROGRAMMING TIME
鈥?16 Word Write Buffer
鈥?16碌s Word effective programming time
TBGA
s
128 UNIFORM 64 KWord/128KByte MEMORY
BLOCKS
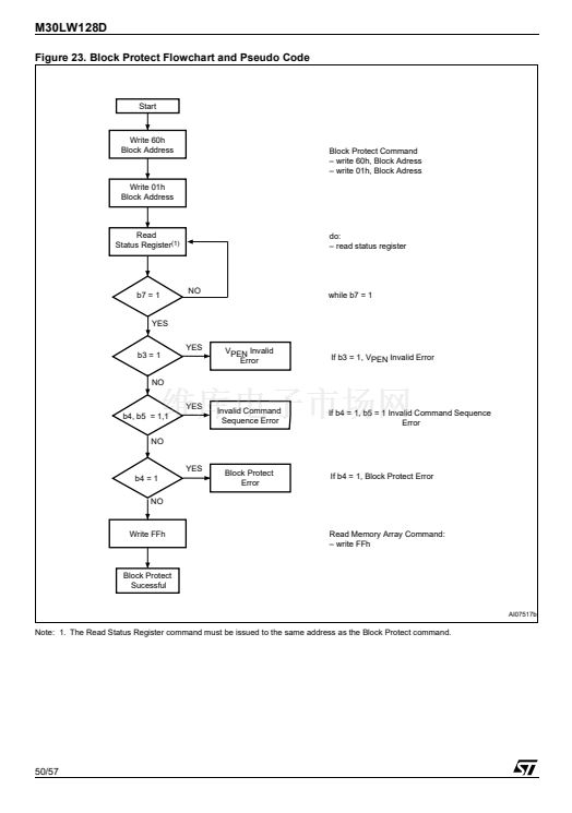
BLOCK PROTECTION/ UNPROTECTION
PROGRAM and ERASE SUSPEND
128 bit PROTECTION REGISTER
COMMON FLASH INTERFACE
100, 000 PROGRAM/ERASE CYCLES per
BLOCK
ELECTRONIC SIGNATURE
鈥?Manufacturer Code: 20h
鈥?Device Code M30LW128D: 8817h
TBGA64 (ZA)
10 x 13mm
s
s
s
s
s
FBGA
s
LFBGA88 (ZE)
8 x 10mm
February 2003
This is preliminary information on a new product now in development or undergoing evaluation. Details are subject to change without notice.
1/57

M30LW128D110N6 产品属性

  • 96

  • 集成电路 (IC)

  • 存储器

  • -

  • 闪存

  • FLASH

  • 128M(2 x 8Mx8,4Mx16)

  • 110ns

  • 并联

  • 2.7 V ~ 3.6 V

  • -40°C ~ 85°C

  • 56-TFSOP(0.724",18.40mm 宽)

  • 56-TSOP

  • 托盘

  • 497-1719

M30LW128D110N6相关型号PDF文件下载

您可能感兴趣的PDF文件资料

热门IC型号推荐

扫码下载APP,
一键连接广大的电子世界。

在线人工客服

买家服务:
卖家服务:
技术客服:

0571-85317607

网站技术支持

13606545031

客服在线时间周一至周五
9:00-17:30

关注官方微信号,
第一时间获取资讯。

建议反馈
返回顶部

建议反馈

联系人:

联系方式:

按住滑块,拖拽到最右边
>>
感谢您向阿库提出的宝贵意见,您的参与是维库提升服务的动力!意见一经采纳,将有感恩红包奉上哦!