CS5320-KL Datasheet

  • CS5320-KL

  • Cirrus Logic [24-Bit Variable Bandwidth A/D Converter Chips...

  • 754.64KB

  • CIRRUS

扫码查看芯片数据手册

上传产品规格书

PDF预览

CS5320/21/22
24-Bit Variable Bandwidth A/D Converter Chipset
Features
l
CMOS
Description
The CK5320 and CK5321 Chipsets function as a unique
A/D converter intended for very high resolution measure-
ment of signals below 1500 Hz. The CK5320 Chipset is
a cost effective commercial grade solution for applica-
tions which require a high dynamic range A/D converter.
The chipsets perform sampling, A/D conversion, and
anti-alias filtering.
The CS5320 and CS5321 use Delta-Sigma modulation
to produce highly accurate conversions. The
鈭單?/div>
modula-
tor oversamples, virtually eliminating the need for
external analog anti-alias filters. The CS5322 linear-
phase FIR digital filter decimates the output to any one
of seven selectable update periods: 16, 8, 4, 2, 1, 0.5
and 0.25 milliseconds. Data is output from the digital fil-
ter in a 24-bit serial format.
ORDERING INFORMATION*
Chip Sets
Kits
CS5320-KL & CS5322-KL CK5320-KL1
CS5321-BL & CS5322-KL CK5321-KL1
CS5321-BL & CS5322-BL CK5321-BL1
A/D Converter Chipset
l
Dynamic Range
-
130 dB @ 25 Hz Bandwidth
-
121 dB @ 411 Hz Bandwidth
l
Delta-Sigma
Architecture
-
Fourth-Order Modulator
-
Variable Oversampling: 64X to 4096X
-
Internal Track-and-Hold Amplifier
l
CS5321
Signal-to-Distortion: 115 dB
l
Clock Jitter Tolerant Architecture
l
Input Voltage Range: +4.5 V
l
Flexible Filter Chip
-
Hardware or Software Selectable Options
-
Seven Selectable Filter Corners (-3 dB)
Frequencies: 25, 51, 102, 205, 411, 824 and
1650 Hz
l
Low
Power Dissipation: <100 mW
* Refer to Table 5
CS5320/21
V
dd1
V
ss1
V
dd2
V
ss2
LPWR
OFST
MSYNC
AINR
AIN+
AIN-
MDATA
VREF+
VREF-
AGND
DGND
HBR
VD+
DGND
CSEL
H/S
TDATA
PWDN
USEOR
DGND
Analog
Modulator
MFLG
MCLK
MDATA
Digital
Filter
RESET
VD+
SYNC
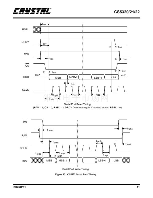
CS5322
CLKIN
CS R/W
RSEL
SCLK
SID
SOD
ERROR
DRDY
ORCAL
DECA
DECB
DECC
Preliminary Product Information
P.O. Box 17847, Austin, Texas 78760
(512) 445 7222 FAX: (512) 445 7581
http://www.cirrus.com
This document contains information for a new product.
Cirrus Logic reserves the right to modify this product without notice.
Copyright
Cirrus Logic, Inc. 1999
(All Rights Reserved)
OCT 鈥?9
DS454PP1
1

CS5320-KL PDF文件相关型号

CS5320-KL1

CS5320-KL相关型号PDF文件下载

  • 型号
    版本
    描述
    厂商
    下载
  • 英文版
    RF COILS
    SUMIDA
  • 英文版
    Sumida Corporation [RF COILS < SMD Type: CS Series>]
    SUMIDA
  • 英文版
    Three-Phase Buck Controller with Integrated Gate Drivers an...
    ONSEMI
  • 英文版
    Three-PhaseBuck Controller withIntegrated Gate Drivers andPo...
  • 英文版
    Two-Phase Buck Controllerwith Integrated GateDrivers and 4-B...
  • 英文版
    Three-Phase BuckController with IntegratedGate Drivers
  • 英文版
    Three-Phase SynchronousSwitching Step-DownController with Si...
  • 英文版
    Four-Phase VRM 9.0 Buck Controller
    ON SEMICONDUCTOR
  • 英文版
    Two-Phase PWM Controllerwith Integrated GateDrivers for VRM ...
  • 英文版
    Two-Phase PWM Controller with Integrated Gate Drivers for VR...
  • 英文版
    16-Bit, 20 kHz Oversampling A/D Converter
    CIRRUS
  • 英文版
  • 英文版
  • 英文版
    24-Bit Variable Bandwidth A/D Converter Chipset
    CIRRUS
  • 英文版
  • 英文版
  • 英文版
    24-Bit Variable Bandwidth A/D Converter Chipset
    CIRRUS
  • 英文版
  • 英文版
    24-Bit Variable Bandwidth A/D Converter Chipset
    CIRRUS
  • 英文版
    Two-Phase Buck Controllerwith Integrated GateDrivers and 5-B...

扫码下载APP,
一键连接广大的电子世界。

在线人工客服

买家服务:
卖家服务:
技术客服:

0571-85317607

网站技术支持

13606545031

客服在线时间周一至周五
9:00-17:30

关注官方微信号,
第一时间获取资讯。

建议反馈

联系人:

联系方式:

按住滑块,拖拽到最右边
>>
感谢您向阿库提出的宝贵意见,您的参与是维库提升服务的动力!意见一经采纳,将有感恩红包奉上哦!